您好,欢迎光临成都卡尔特建筑工程有限公司官方网站!
18030400002
咨询热线:
卡尔特建筑工程
Kalt Construction 
180-3040-0002
24小时咨询热线:
集防护工程产品的研发、生产、施工安装为一体的大型生产和施工企业
多年经验,贴心服务

新闻详情

边坡防护中用于固定网片的垫块式固定钉
来源: | 作者:成都卡尔特建筑工程有限公司 | 发布时间 :2024-02-26 | 82 次浏览: | 分享到:
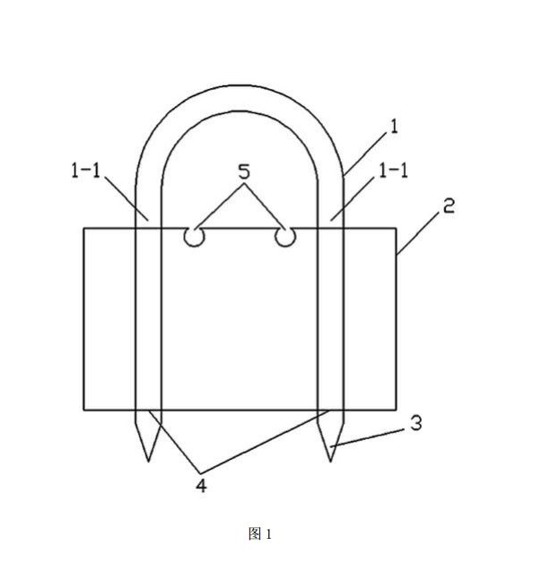
一种边坡防护中用于固定网片的垫块式固定钉,该固定钉包括 U 型钉体和垫块,U 型钉体的两钉腿一端设有钉尖,垫块顶面开设有卡住网片的至少一个卡槽,垫块中部开设有两个垂直于坡面的贯穿整个垫块且与钉腿相匹配的钉孔,两钉腿安装在钉孔中并固定于坡面。本实用新型提供的边坡防护中用于固定网片的垫块式固定钉,可以解决在实施挂网喷播施工时网片与坡面的距离很难保持均等的问题,能够保证网片与坡面的距离为施工方案中的设计值,安装多个本实用新型即可保证网片与坡面的距离均等,使网片对坡面生态基材起到更好的加筋作用。

一种边坡防护中用于固定网片的垫块式固定钉,该固定钉包括 U 型钉体和垫块,U 型钉体的两钉腿一端设有钉尖,垫块顶面开设有卡住网片的至少一个卡槽,垫块中部开设有两个垂直于坡面的贯穿整个垫块且与钉腿相匹配的钉孔,两钉腿安装在钉孔中并固定于坡面。本实用新型提供的边坡防护中用于固定网片的垫块式固定钉,可以解决在实施挂网喷播施工时网片与坡面的距离很难保持均等的问题,能够保证网片与坡面的距离为施工方案中的设计值,安装多个本实用新型即可保证网片与坡面的距离均等,使网片对坡面生态基材起到更好的加筋作用。 

技术领域

本专利涉及边坡防护技术领域,尤其是一种边坡防护中用于固定网片的垫块式固定钉。 

附图说明

下面结合附图和实施例对本实用新型作进一步说明 
     图 1 为本实用新型结构示意图。 


image.png

有益效果

本实用新型提供的边坡防护中用于固定网片的垫块式固定钉,通过垫块上的卡槽卡住网片,起到固定网片的作用,可以解决在实施挂网喷播施工时网片与坡面的距离很难保持均等的问题,能够保证网片与坡面的距离为施工方案中的设计值,安装多个本实用新型即可保证网片与坡面的距离均等,使网片对坡面生态基材起到更好的加筋作用。成本低廉,结构简单 ;特别是当坡面凹凸不平、高差较大时,能够保证网片与坡面的距离为施工方案中的设计值,安装多个本实用新型即可保证网片与坡面的距离均等,使网片对坡面生态基材起到更好的加筋作用。